Battery Watering Technologies GEZ48-KITBCUS3F RXV Battery Watering Kit With US12VRX Charger For Golf Carts
GEZ48-KITBCUS3F Battery Watering Kit with US12VRX Charger for RXV
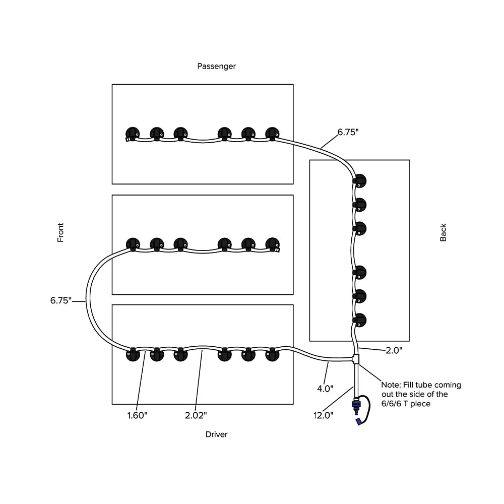
The BATTERY WATERING TECHNOLOGIES GEZ48-KITBCUS3F is an all-in-one maintenance kit designed for E-Z-GO RXV golf carts with four 12-volt batteries. It simplifies watering and keeps power steady with the included US12VRX charger, delivering reliable performance with less effort.
- Four-battery RXV compatibility: Specifically engineered for RXV configurations that use four 12-volt cells (US Battery-compatible), ensuring even water distribution across all cells.
- Fully assembled, ready for installation: The kit arrives fully assembled and prepared for quick installation, so you can get back on the course or job site faster.
- Charger included: US12VRX: Includes the dedicated US12VRX charger to maintain a reliable power source for your RXV between uses.
- Efficient, low-maintenance watering: Featuring a self-regulating design that helps maintain correct electrolyte levels across all four cells, reducing maintenance time and preventing overfilling.
- Durable construction for daily use: Built to withstand the rigors of daily RXV operation and provide long-lasting performance in golf-cart environments.
With this GEZ48-KITBCUS3F setup, you gain consistent battery performance, easier routine maintenance, and reduced risk of unexpected downtime. The single-point watering approach keeps all four 12-volt cells topped up accurately, helping to maximize range and extend the life of the RXV battery bank. The included charger ensures your cart remains powered and ready for the next round or shift.
Battery Watering Technologies GEZ48-KITBCUS3F RXV Battery Watering Kit With US12VRX Charger For Golf Carts
$190.75
/
Your payment information is processed securely. We do not store credit card details nor have access to your credit card information.
About this product
Each component undergoes rigorous testing and inspection to ensure it meets our stringent quality standards, guaranteeing reliability, durability, and excellence.
Encryption: Shopify uses Transport Layer Security (TLS) to encrypt data during transmission, ensuring that sensitive information like credit card details is protected from unauthorized access.
Returns are easy for customers on Rainier because you can initiate returns through a simple interface, with automated return labels, and track your return status in real-time.
We offer a 30-day money-back guarantee to ensure your complete satisfaction. If you're not happy with your purchase within 30 days, you can return it for a full refund, giving you a risk-free trial period and peace of mind.